独家发布|福建政府采购13682家企业,谁勇夺行业竞争力第一?
2020年7月23日 浏览:271
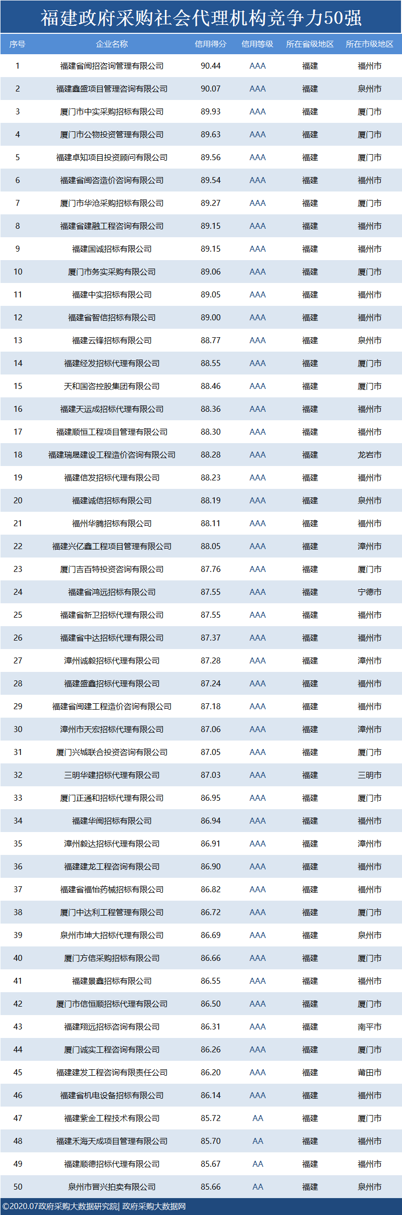
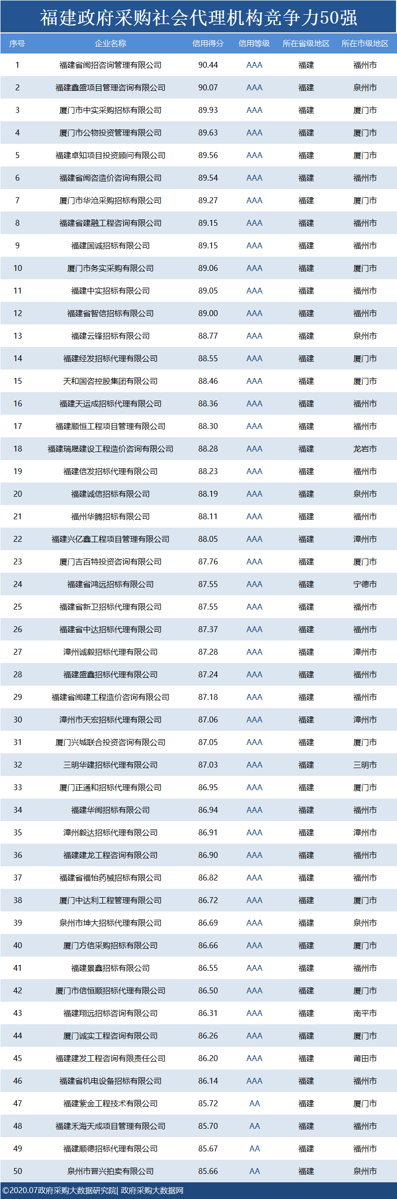
政府采购竞争力榜单采取全样本分析,涵盖了福建省政府采购社会代理机构和供应商,样本容量:供应商共13198家,社会代理机构484家。通过对企业市场竞争能力的全面评估,综合衡量企业在激烈的政府采购市场下对项目履约情况、风险管控能力以及诚信守法状况,具体指标包括:项目数量、项目总金额和大客户数量占比和行政处罚情况。
政府采购大数据研究院和政府采购大数据网联合发布:福建省政府采购社会代理机构竞争力50强&行业竞争力50强。数据评估区间:2019年07月01日至2020年6月30日。公示时间:2020年07月23日至2020年07月29日。
评估数据来源:本榜单数据一律来源于全国各级政府采购公开发布的项目信息和诚信记录。具体数据源包括:中国政府采购网、各省级政府采购网、地方政府采购平台以及信用中国网等。
自2017年起,政府采购大数据研究院&政府采购大数据网已累计发布了政府采购竞争力榜单7期,本次榜单为第8期。(数据每半年更新一次)
政府采购企业竞争力评估指标如下

福建省政府采购企业竞争力大数据信用等级分布
从福建省政府采购竞争力13682家企业大数据信用等级分布来看,A级及以上企业共计5083家,占总体样本的37.15%。B级及以上信用等级单位13624家,占总体样本的99.58%。数据显示,福建省政府采购企业整体上竞争力资信状况表现良好。







(由于篇幅原因,本榜单仅公布以上细分行业;如需了解其他行业可咨询我们的工作人员。)

2014 2014.11 广州集点网络科技有限公司成立 2015 2015.04“集点云大数据研究中心”揭牌成立 2016 2016.10 取得广州市科技创新小巨人企业证书 2017 2017.05“政府采购大数据研究院”揭牌成立 2017.09 更名为广东集点网络科技有限公司 2017.10 成为广东省信用协会常务理事单位 2018 2018.04 成为中国大数据产业生态联盟会员单位 2018.07 与电白区纪委合作,启动电白区廉政监测平台建设工作 2018.08 受重庆市财政局委托,提供重庆市政府采购供应商违法失信记录查询 2018.09 当选广东省信用协会大数据专业委员会委员单位 2018.09 荣获2017年度越秀区创业领军人才(团队)称号 2018.10 参加广东省发改委主持的《广东省社会信用条例》立法听证会 2018.11 认定为国家级高新技术企业 2018.12 应邀参加第九届华南信用管理论坛 2019 2019.01 应邀参加由国家公共信用信息中心组织的《失信事件核查专题会议》、应邀参加广东省发改委《失信案例核查工作座谈会》 2019.03 完成《政府采购主体失信标准与信用管理办法》并呈报广东省发改委备案 2019.04 受广东政府采购协会委托完成广州市政府采购市场数据咨询服务 2019.04 公司独立开发的“集点信用查APP”入选“全国信用APP观摩第26名” 2019.10 集点政府采购诚信学院正式成立






收藏本页
QQ二维码
微信二维码